Принцип работы
Антирезонансные трансформаторы имеют защиту от разного рода резонансных колебаний и нагрузок. Работает устройство по следующему принципу:
- Ток подается на вход первичной обмотки.
- На вторичной обмотке напряжение меняется, так как существует разность количества витков на обеих обмотках и сечений проводов.
- ЭДС, которая появляется за счет возникновения магнитного поля, выталкивает ток на выход из трансформатора.

Принцип работы этого типа трансформатора ничем не отличается от обычного понижающего устройства. Отличия заключаются в следующем:
- Такой трансформатор оснащен изоляцией нейтрали.
- Обобщением однофазного и трехфазного агрегата в единый корпус.
При возникновении феррорезонанса, происходит размыкание вторичной обмотки трансформатора, что защищает его от нагревания и прогорания провода. Также существует изоляционный слой, который предотвращает появление напряжения на отключенных шинах, замыкания между фазами или соприкосновения трехфазного выхода с однофазным.
Антирезонансные трансформаторы применяют для электросетей 6–500 кВ. Классифицируются по следующим параметрам:
- 110 кВ с глухо заземленной нейтралью. На таких устройствах стоит защита от воздействия резонанса на нулевой канал. Однако в некоторых случаях резонансное явление возможно, если какой-то участок изменит саму нейтраль. В таком случае возникает разземление, которое может привести к нагреву трансформатора и выходу его из строя. При увеличении резонансных колебаний более чем на 16 Гц, емкость выравнивает колебания, разделяясь между всеми конденсаторами сети и шинами. Такие устройства способны сглаживать влияние субгармоники и гармоники, появление тока на отключенных фазах и препятствовать взаимодействию нейтральной индуктивности с заземлением.
- 220, 330 и 500 кВ. В таких устройствах в качестве защиты от потери нейтрали и влияния резонанса используется конденсатор с повышенной емкостью. Принцип действия данных трансформаторов состоит в том, чтобы обеспечивать:
- Линеаризацию магнитного провода;
- Увеличение технических характеристик магнитопровода;
- Увеличение показателей сцепления;
- Снижение параметров индуктивности;
- Уменьшение потерь в первичной обмотке.
Существует отдельный тип антирезонансных трансформаторов «НАМИ». Эти устройства имеют особый тип защиты, который подразумевает отключение вторичной обмотки, нейтральное заземление из стали. Также, все сердечники помещены в емкость с маслом, для обеспечения охлаждения и защиты от возникновения дуги. НАМИ расшифровывается следующим образом:
- «Н» — работает с напряжением;
- «А» — антирезонансный;
- «М» — охлаждается маслом;
- «И» — имеет изоляционно-контрольную защиту.
В современных сетях используется 3 основных типа «НАМИ».
- «НАМИ–10» — является первым трансформатором, который использовался для уменьшения показателей резонанса. Состоит из 2-х трехобмоточных ТС, заключенных в контрольно-изоляционный «кокон», который помещен в емкость с маслом. Данная модель имеет ряд недоработок, поэтому часто страдает от перегрева и оплавления изоляции.
- «НАМИ-10-95» — предназначен для работы в трехфазных сетях переменного тока с частотами от 50 Гц. Применяется для обеспечения напряжением сигнализаций, высоковольтных устройств и оборудования. На первичную обмотку этой модели подается напряжение 10–6 кВ. Напряжение вторичной обмотки составляет 0.1 кВ. Конструктивно схож с базовой моделью. Обмотки с магнитопроводами помещены в емкость с маслом.
- «НАМИ-10-95-УХЛ2» — также предназначен для обеспечения энергией электроустановок, устройств и оборудования на производстве. Способен осуществлять их защиту от частотных резонансов и перенапряжений. Дополнительно имеет способность изолирования сети от высоких нагрузок. Оснащен 2-мя вторичными обмотками, каждая имеет на выходе напряжение не более 100 В.
Устройства типа «НАМИ» более совершенны. Их применяют на промышленных предприятиях, в отдельных жилых комплексах и так далее.
Устройство и принцип действия
Конструктивно ТН особо не отличается от других типов преобразующих устройств. Его устройство:
- магнитный сердечник, шихтованный из пластин электротехнической стали;
- первичная катушка;
- одна или две вторичные обмотки;
- защитный кожух (для конструкций уличного типа).
Внешний вид и схематическое изображение изделия смотрите на рис.1. На картинке изображено устройство с одной (основной) вторичной обмоткой. На некоторых моделях есть дополнительная вторичная обмотка, которая может использоваться, например, для подключения приборов измерения.
![]()
Рис. 1. Трансформатор напряжения. Строение
Обратите внимание на то, что между выводами первичных обмоток и вторичными катушками отсутствует гальваническая связь. Это главное отличие измерительных трансформаторов от конструкции обычного понижающего трансформатора
Защитные кожухи изготовляются из разных материалов. В моделях, используемых для обслуживания высоковольтных ЛЭП, применяют диэлектрики, изготовленные из фарфора (рис. 2),

Рис. 2. ТН на 110 кВ
Для охлаждения обмоток таких высоковольтных агрегатов применяют специальные трансформаторные масла.
В сетях средней мощности применяют модели с корпусами на основе эпоксидных смол (рис. 3).

Рис. 3. ТН наружного типа
Трехфазные ТН с нулевыми выводами выполняются на магнитопроводе с пятью стержнями. Такая конструкция защищает обмотки от перегрева, так как при однофазных замыканиях в цепях высоковольтных проводов цепь линий суммарного магнитного потока в самом трансформаторе замыкается по стали сердечника.
Принцип действия также мало отличается от работы силового понижающего трансформатора. Магнитный поток, возникающий в первичной катушке, распространяется по магнитопроводу, вызывая напряжение ЭДС во вторичной обмотке. Величина напряжения зависит от соотношения числа витков в катушках. Поскольку вторичные обмотки состоят из малого количества витков, то и выходное напряжение небольшое (обычно оно не превышает 100 В).
Принцип работы ТН объясняет схема на рисунке 4.

Рис. 4. Принцип работы трансформатора напряжения
Важной задачей при изготовлении трансформаторов данного типа является выполнение требований по достижению необходимых амплитудных и угловых параметров синусоиды, определяющих соответствующий класс точности: 0,5; 1; 3. В эталонных образцах применяется класс точности 0,2
Для измерительных приборов важно чтобы класс точности был максимально высоким. Чем он выше, тем меньшая погрешность измерения прибора.
Точность параметров преобразованных переменных токов зависит от нагрузки. Чем выше нагрузка вторичной цепи, тем больше погрешность трансформатора напряжения (снижается класс точности). Оптимальные параметры напряжения на выходе трансформатора достигаются при номинальных нагрузках. В этом режиме эффективность преобразования тока возрастает по мере приближения к номинальному коэффициенту трансформации.
Работа ТН эффективна при малых номинальных мощностях во вторичных цепях. Для этих устройств длительное состояние в режиме холостого хода является нормой. Поэтому они эффективно используются в системах защиты линий, которые большую часть времени находятся в режиме ожидания и потребляют мало тока.
Принцип работы
Работа СТ осуществляется на законах электротехники. СТ ничем не отличаются от обыкновенного трансформатора. Проходящий в первичной обмотке ток изменяется во временном диапазоне гармониками. Он создаёт в магнитопроводах мощный поток магнитных полей. Индукция проникает сквозь витки вторичной обмотки, создаётся электродвижущая сила.

Принцип работы трансформатора
Съём нагрузок происходит с проходных изоляторов вторичной обмотки на крыше трансформатора. Параметры тока вторичной обмотки держат не выше расчётной величины. В таком состоянии силовые установки работают месяцами, продолжительное время. Преобразуется 1 потенциал амплитуды низкого потенциала (6 – 10 кВ) электричества в высокий класс амплитуды (35, 110, 220, 500, 1100 кВ).
В рабочем режиме СТ подключён шинами РУ, линией электропередачи на нагрузку потребителей энергии. Без отбора мощности происходит повышение частоты электрического тока. СТ работающие в группе разгружены, близки к режимам работы на холостом ходу. При отборе мощности потребителями уменьшается частота электрического тока, трансформатор грузится на 100 – 140% мощность. При стабилизации частоты 50 + (0,5-1%) силовые установки переводятся на стабильный номинальный режим работы. В период испытаний он кратковременно включается на режимы коротких замыканий. Проверяются 99,99% электрических характеристик агрегата, проводится наладка режимов его работы.
Также читайте: Однофазный сухой трансформатор — ОСМ

Режим короткого замыкания
Трансформаторы бывают повышающие и понижающие, что бы это определить нужно узнать коэффициент трансформации, с его помощью можно узнать какой трансформатор. Если коэффициент меньше 1 то трансформатор повышающий(также это можно определить по значениям если во вторичной обмотке больше чем в первичной то такой повышающий) и наоборот если К>1, то понижающий(если в первичной обмотке меньше витков чем во вторичной).
Формула по вычислению коэффициента трансформации
где:
- U1 и U2 – ВН и НН напряжения,
- N1 и N2 – количество витков в первичной и вторичной обмотке,
- I1 и I2 – ток в первичной и вторичной обмотки.
Инструкция по намотке
Сердечник нужно обмотать скотчем (5 слоев), вложить в желоб провод с рассчитанным диаметром, намотать по всей длине рассчитанное для первичной намотки количество витков. Оба конца обмотки выводятся на одну сторону и изолируются винилкой.
Далее наматывается 4-5 слоев скотча, конструкция помещается в корпус одноразового шприца длиной 3 см. На шприц наматывается 2 ряда скотча и рассчитанное для вторички количество витков, ширина обмотки примерно 1,5 см. Каждый слой нужно заизолировать скотчем или двумя слоями фторопластовой ленты. Концы второй обмотки выводятся на обе стороны. В результате с одного конца получается три вывода, со второго – один.
Готовая конструкция изолируется скотчем (5 слоев), припаиваются гибкие провода (выводы), наматываются еще 5 слоев скотча.
Если в процессе намотки порвался провод, концы необходимо зачистить, скрутить, спаять и заизолировать. Электрическую прочность увеличивает пропитка каждого слоя намотки лаком на основе акрила или эпоксидной смолы.
Для того, чтобы сделать трансформатор своими руками, не обязательно покупать новый провод. Подходит и старый, если отрезки соединены правильно (свиты и спаяны). При намотке витки должны плотно прижиматься друг к другу. Нежелательно укладывать их перпендикулярно к сердечнику (нужен небольшой наклон). Не допускаются перегибы и сгибы, поэтому требуется определенная натяжка. Скотч для изоляции следует нарезать на полоски шириной 1,5 см, чтобы было легче покрыть провод.

Конструкция
Силовые трансформаторы делаются масляными, сухими. Высоковольтный аппарат представляет собой сложное инженерное оборудование.
В аппарат входит:
- Станина установки.
- Прямоугольный масляный бак.
- Термосифонный фильтр.
- Магнитопроводы.
- Обмотки низкого потенциала (2-слойная цилиндрическая).
- Обмотки высокой амплитуды.
- Вводные проходные изоляторы 2 классов амплитуды.
- Расширительная ёмкость.
- Газовое реле.
- Переключающее устройство РПН.
- Моторный привод.
- Радиаторы с вентиляторами, охладителями.
- Привод переключающего устройства.
- Запорная арматура по маслу, воде, газу.

По количеству фаз трансформаторы выпускают: однофазные, трёхфазные.
Требования к эксплуатации
Антирезонансные трансформаторы должны эксплуатироваться с соблюдением следующих требований:
- устанавливаться на высоте от уровня моря в пределах до 1 км,
- колебания температуры окружающей среды должны находиться от 15 до 35 градусов тепла, при отсутствии колебаний более 5 градусов,
- состав воздуха должен включать достаточное количество кислорода и азота, с принадлежностью атмосферы ко второму типу,
- обязательное соблюдение правил пожарной безопасности, предусмотренных государственными нормативными актами,
- подключение трансформатора к сети с характеристиками, на которые рассчитано данное оборудование,
- в процессе эксплуатации должна соблюдаться схема технического обслуживания и проведения планово-предупредительных текущих и капитальных ремонтов, в соответствии с требованиями, установленными заводом-изготовителем и другими регламентирующими документами,
- к обслуживанию агрегатов необходимо допускать обученный и аттестованный персонал, с организацией безопасного отключения установки от сети и выполнением установленных нормами по охране труда мер безопасности.

Учитывая эксплуатационные требования, такие трансформаторы не могут работать на открытом воздухе. Их необходимо устанавливать в помещениях, обеспечивающих соответствующий температурный и влажностный режим.
От правильности эксплуатации зависит безопасность работы данного оборудования и продолжительность его использования. Паспортный срок службы будет обеспечен только при условии обязательного выполнения требований, установленных изготовителем.
Антирезонансные трансформаторы – относительно новая разработка в области электротехники. Это оборудование получает всё более широкий спектр применения и продолжает всё более совершенствоваться.
Виды трансформаторов и принцип работы
Принцип работы конструктивного устройства, показатели мощности и требуемые нюансы различаются в зависимости от того, на скольких кВ работает оборудование. Требования обязательны к соблюдению, даже мельчайшие погрешности приводят к изменению феррорезонансной устойчивости.

Работающие при 110-ти киловольтах
Возникающие при функционировании сетей 110 кВ феррорезонансные явления обуславливаются начлиием разземления для уменьшения токов. Присутствуют резонансные колебания, связанные с:
- гармоникой и субгармоникой — появляется между конденсатами с определенными показателями емкости и индуктивностью трансформаторов;
- субгармоника при режимах неполных фаз — появляется в результате попадания через между фазные линии, когда напряжение подается на отключенную фазу;
- гармоника при неполной фазу — присутствует, когда работает тс с разземлением и взаимодействует с индуктивностью нелинейным образом.
При нулевом канале резонансные явления не возникают, но если определенный участок изменяет нейтраль, то это состояние возможно. Разземление приводит к тому, что повреждаются конструктивные детали. Сопротивление первичной обмотки создает резонанс на частоте 16 Герц, как последствие энергетический поток переводится через междуфазные проводники.

Антирезонансные трансформаторы напряжения, рассчитанные на 220, 330 и 500 киловольт
Для оборудования, которое работает на 220, 330 и 500 киловольтах существенную проблему представляют феррорезонансы с конденсаторами, которые отвечают за высоковольтные смены. Емкость значительная, при этом напряжение попадает при отключении цепи на трансформатор (разделяется между шинами и конденсаторами). Принцип работы состоит в том, чтоб обеспечить:
- линеаризацию магнитного провода;
- увеличение технических характеристик магнитопровода;
- увеличение показателя сцепления;
- снижение характеристик индуктивности;
- снижение потерь в первичной обмотке.
Выбор конкретных методик и принципа работы для такого трансформатора определяется типологией оборудования. Иногда оптимальным вариантом будет выбрать снижение субгармоники резонанса и вместе с этим уменьшить некоторые параметры производительности устройства.

Трансформаторы типа: НАМИ-10, НАМИ-10-95, НАМИ-10-95 УХЛ2
НАМИ-10 представляет собой первый трансформатор, используемый для снижения показателя резонанса. Расшифровка НАМИ буквально означает то, что трансформатор относится к типу работающий с напряжением (Н), антирезонансный (А), масляный, но в конкретном случае возникает циркуляция природным способом масла и воздушных потоков (М), изоляционно-контрольный (И). ТС такого типа является конструкцией из двух трехобмоточных тс.
НАМИ-10-95 является устройством, работающим в электрических сетях с частотой от 50 Герц. Трехфазный, предназначается для работы с измерительными системами, автоматическими устройствами, сигнализациями. Напряжение первичной обмотки составляет 10 или 6 кВ, вторичной — 0,1. Заземление собрано из конструкционной стали. Он масляный, обмотки с магнитопроводами помещены в сосуд.
НАМИ-10-95 УХЛ2 кроме основного предназначения (передача сигнала к оборудованию управления, измерения или защиты, могут использоваться для изоляции от максимальных показателей напряжения цепей электрических приборов на производстве. Всего установлено две вторичных обмотки, напряжение номинальное каждой из них не превышает 100 В.

Зачем заземлять
Заземление нейтрали трансформатора необходимо для создания стабильной работы электроустановки и безопасности людей, которые могут находиться на подстанции.
Рабочее заземление на трансформаторе является частью защитного. Это значит, что заземление, предназначенное для стабильной работы устройства, также защищает от поражения током.
Правила устройства электроустановок требуют, чтобы все силовые трансформаторы были заземлены.
![]()
В трансформаторах напряжения заземляется только трансформатор. Согласно правилам устройства электроустановок у трансформатора напряжения заземление вторичной обмотки происходит путем соединения общей точки или одного из концов обмотки с заземляющим проводником.
В трансформаторах тока заземляются вторичные обмотки. Для подключения проводников предусмотрены специальные зажимы. Обмотки нескольких установок можно соединять одним проводником и подключать к одной шине.
В электротехнике выделяют понятие сети с эффективно заземленной нейтралью. Оно применимо для силового трансформатора, у которого заземлено большинство нейтралей обмоток (глухое заземление нейтрали).
Если произойдет однофазное замыкание, то напряжение на поврежденных фазах не должно быть выше 1,4 напряжения на рабочих фазах в нормальных условиях.
Виды трансформаторов напряжения
Рассмотрим несколько трансфомраторов напряжения разных производителей:
Трансформатор напряжения ЗНОЛ-НТЗ-35-IV-11
Производиель — Невский трансформаторный завод «Волхов».
Назначение и область применение ЗНОЛ-НТЗ
Трансформаторы предназначены для наружной установки в открытых распределительных устройствах (ОРУ). Трансформаторы обеспечивают передачу сигнала измерительной информации измерительным приборам и устройствам защиты и управления, предназначены для использования в цепях коммерческого учета электроэнергии в электрических установках переменного тока на класс напряжения 35 кВ. Трансформаторы выполнены в виде опорной конструкции.

Рисунок — Габаритные размеры трансформатора 
Рисунок — схемы подключения обмоток трансформаторов
Характеристики:
- Класс напряжения по ГОСТ 1516.3, кВ — 27 35 27
- Наибольшее рабочее напряжение, кВ — 30 40,5 40,5
- Номинальное напряжение первичной обмотки, кВ — 15,6 20,2 27,5
- Номинальное напряжение основной вторичной обмотки, В — 57,7 100
- Номинальное напряжение дополнительной вторичной обмотки, В — 100/3, 100 127
- Номинальные классы точности основной вторичной обмотки — 0,2; 0,5; 1; 3
Ещё одно интересное видео о работе трансформаторов тока:

Трехфазная антирезонансная группа трансформаторов напряжения 3хЗНОЛПМ(И)
Производитель «Свердловский завод трансформаторов тока»
Назначение 3хЗНОЛПМ(И)
Трансформаторы предназначены для установки в комплектные устройства (КРУ), токопроводы и служат для питания цепей измерения, защиты, автоматики, сигнализации и управления в электрических установках переменного тока частоты 50 или 60 Гц в сетях с изолированной нейтралью.
Рабочее положение — любое.
Расположение первичного вывода возможно как с лицевой так и с тыльной стороны трансформатора.
Трехфазная группа может комплектоваться в 4-ех вариантах:
- из трех трансформаторов ЗНОЛПМ — 3хЗНОЛПМ-6 и 3хЗНОЛПМ-10;
- из трех трансформаторов ЗНОЛПМИ — 3хЗНОЛПМИ-6 и 3хЗНОЛПМИ-10;
- из одного трансформатора ЗНОЛПМ (устанавливается по середине) и двух трансформаторов ЗНОЛПМИ (устанавливаются по краям) — 3хЗНОЛПМ(1)-6 и 3хЗНОЛПМ(1)-10;
- из двух трансформаторов ЗНОЛПМ (устанавливаются по краям) и одного трансформатора ЗНОЛПМИ (устанавливается по середине) — 3хЗНОЛПМ(2)-6 и 3хЗНОЛПМ(2)-10.
Для повышения устойчивости к феррорезонансу и воздействию перемежающейся дуги в дополниетльные обмотки, соединенные в разомкнутый треугольник, используемые для контроля изоляции сети, рекомендуется включать резистор сопротивлением 25 Ом, рассчитанный на длительное протекание тока 4А.
Гарантийный срок эксплуатации — 5 (пять) лет со дня ввода трансформатора в эксплуатацию, но не более 5,5 лет с момента отгрузки с завода-изготовителя.
Срок службы — 30 лет.

НАМИТ-10-2
Производитель ОАО «Самарский Трансформатор»
Назначение и область применения
Трансформатор напряжения НАМИТ-10-2 УХЛ2 трехфазный масляный антирезонансный является масштабным преобразователем и предназначен для выработки сигнала измерительной информации для измерительных приборов в цепях учёта, защиты и сигнализации в сетях 6 и 10 кВ переменного тока промышленной частоты с изолированной нейтралью или заземлённой через дугогасящий реактор. Трансформатор устанавливается в шкафах КРУ(Н) и в закрытых РУ промышленных предприятий
Технические параметры трансформатора напряжения НАМИТ-10-2
- Номинальное напряжение первичной обмотки, кВ — 6 или 10
- Наибольшее рабочее напряжение, кВ — 7,2 или 12
- Номинальное напряжение основной вторичной обмотки (между фазами), В — 100 (110)
- Ннапряжение дополнительной вторичной обмотки (аД — хД), не более, В — 3
- Класс точности основной вторичной обмотки — 0,2/0,5

Рисунок — Габаритные размеры и схема подключения
{SOURCE}
ВИДЫ ТРАНСФОРМАТОРОВ И ИХ НАЗНАЧЕНИЕ
В зависимости от специфических функций, выполняемых трансформаторами, они подразделяются на несколько основных типов:
- силовые, предназначенные для трансформации мощности;
- измерительные, к которым относятся трансформаторы тока и напряжения;
- разделительные, служащие для разделения электрических цепей.
Силовые трансформаторы используются на электрических станциях, в распределительных сетях и в точках потребления электроэнергии. Основная их функция — трансформирование передаваемой электрической энергии с одной ступени напряжения в другую.
Смысл смены ступеней напряжения заключается в том, что выработка, транспортировка и потребление электрической энергии происходит на разных уровнях напряжения.
Мощные турбогенераторы электрических станций вырабатывают электроэнергию напряжением 20 кВ. Передача энергии на большие расстояния осуществляется по воздушным линиям (ЛЭП), имеющим напряжение сотни киловольт — 110, 220, 500 кВ.
Более высокое напряжение (750 и 1150 кВ) применяется реже ввиду дороговизны оборудования и ряда технических сложностей. Повышение напряжения транспортировки электроэнергии позволяет снизить её потери.
Потребляется же большая часть электричества с напряжением 0,4 кВ. Максимальное напряжение конечных электрических устройств составляет не более нескольких киловольт. К таким устройствам относятся высоковольтные приводные двигатели мощных производственных механизмов, тяговые двигатели электровозов, питающихся от контактных электрических сетей.
Таким образом, электрическая энергия на своём пути от её производства до поступления к конечному потребителю несколько раз изменяет уровень напряжения. Эту работу выполняют силовые трансформаторы, установленные на электрических станциях и подстанциях распределительных сетей.
Измерительные трансформаторы используются в цепях измерения, защиты и контроля. Устройства этого типа осуществляют преобразование первичных значений тока и напряжения в пропорциональные им вторичные величины, необходимые для работы измерительных приборов, устройств защиты и автоматики.
Преобразование токовых величин осуществляется трансформаторами тока, для контроля уровня напряжения служат трансформаторы напряжения. Измерительные трансформаторы относятся к средствам измерений и подлежат периодической метрологической поверке, так же как все измерительные приборы.
Разделительные трансформаторы используются в тех случаях, когда необходимо обеспечить гальваническую развязку между отдельными участками электросетей.
Необходимость такого разделения может диктоваться требованиями электробезопасности. Например, таким способом осуществляется питание некоторых видов медицинского оборудования. В данном случае используется одно из основных свойств, присущих трансформатору — отсутствие гальванической связи между его обмотками.
* * *
2014-2022 г.г. Все права защищены.Материалы сайта имеют ознакомительный характер, могут выражать мнение автора и не подлежат использованию в качестве руководящих и нормативных документов.
Феррорезонанс в трансформаторе напряжения: принцип работы стабилизатора напряжения

Феррорезонансный стабилизатор напряжения уже давно активно применяется не только в быту, но и в промышленности. Устройства этого класса позволяют выровнять напряжение переменного типа. В основе принципа функционирования заключается эффект электромагнитного резонанса в колебательном контуре. Такие нормализаторы обладают массой достоинств, но также имеют и свои недостатки.
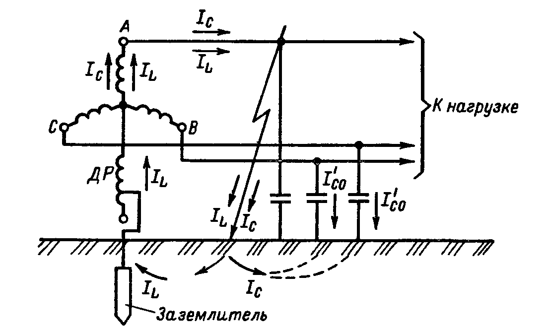
Феррорезонансные явления в электрических сетях
Основные факторы, которые порождают феррорезонансные явления в электрических сетях – это элементы ёмкостного и индуктивного типа. Они способны формировать колебательные контуры в периоды переключения. Этот эффект особо заметен в трансформаторах силового типа, линейного вольтодобавочного, шунтирующих контурах и в аналогичных устройствах, которые оборудуются массивной обмоткой.
Данное явление бывает 2 типов: резонанс токов и напряжения.
Феррорезонанс напряжений возможен, когда в сети имеется индуктивность, характеризующаяся нелинейным вольт-амперным свойством. Данная характеристика свойственна катушкам индуктивности, где сердечники производятся из ферромагнитных компонентов. Особенно это касается выпрямителей линейки НКФ. Такое негативное явление обуславливается небольшим показателем сопротивлений омического и индуктивного типов по отношению к силовым трансформаторам.
Феррорезонанс в трансформаторе напряжения
Когда трансформатор напряжения подключается к сети, в ней формируются последовательно совмещённые LC-цепи, являющие собой контур резонансного типа. При последовательном подключении индуктивного элемента с нелинейным вольт-амперным свойством к элементу ёмкостного типа напряжение в этой зоне цепи характеризуется как активно-индуктивное.
По окончании определённого временного периода значение напряжения на индуктивном элементе становится пиковым, магнитопровод питается, а напряжение на компоненте ёмкостного типа продолжает расти. Феррорезонанс в трансформаторе напряжения наступает, когда напряжение индуктивности и ёмкостного элемента становится равнозначным.
Быстрый переход приложенного напряжения из активно-индуктивного типа в активно-ёмкостной именуется как “опрокидывание фазы”. Такой эффект опасен для электроприборов.
Феррорезонансные стабилизаторы
Феррезонансный стабилизатор
Феррорезонансные выпрямители не оборудуются встроенным вольтметром, вследствие чего сложно замерять выходной показатель напряжения сети. Отрегулировать величину напряжения собственноручно не получится. Стабилизаторы феррорезонансного типа частично искажают реальные показания, величина погрешности составляет до 12%.
Тем, кто долго пользуется такими устройствами, необходимо помнить, что они способны излучать магнитное поле, которое может нарушить правильное функционирование бытовой электротехники. Стабилизаторы такого класса настраиваются в заводских условиях, никаких дополнительных настроек в быту они не требуют.
Влияние стабилизатора на технику
Феррорезонансный стабилизатор напряжения, принцип работы которого непрост, воздействует на бытовую технику следующим образом:
- Радиоприёмник – чувствительность приёма сигнала может быть уменьшена, показатель выходной мощности существенно снижается.
- Музыкальный центр – выходная мощность такой техники может существенно снизиться, стирание и запись новых дисков значительно ухудшаются.
- Телевизор – при подсоединении к стабилизатору можно наблюдать значительное снижение качества картинки на ТВ, отдельные цвета передаются неправильно.
Электрическая схема современных нормализаторов феррорезонансного типа улучшена, что позволяет им выдерживать большие нагрузки. Такие устройства могут гарантировать точную регулировку сетевого напряжения. Процедура корректировки выполняется трансформатором.
Режимы эксплуатации
Эксплуатационные режимы стабилизаторов зависят от ряда факторов. Прямое влияние имеет показатель мощности и класс устройства. Мощностные характеристики прибора могут быть разными, выбирать их надо с учётом типа подсоединяемой электротехники.
Режимы функционирования выпрямителя зависят от таких типов нагрузки:
- индуктивная;
- активная;
- ёмкостная.
Активная нагрузка в чистой форме наблюдается крайне редко. Она необходима только в тех цепях, где переменное значение устройства не имеет ограничений. Нагрузки ёмкостного типа могут применяться только для тех выпрямителей, которые обладают невысокой мощностью.


























